玻璃鋼環形試樣力學試驗
一、玻璃鋼環形試樣力學試驗方案
玻璃鋼(也稱玻璃纖維增強塑料,國際公認的縮寫符號為GFRP或FRP),是一種品種繁多,性能各別,用途廣泛的複合材料。它是由合成樹脂和玻璃纖維經複合工藝,製作而成的一種功能型的新型材料。
纖維纏繞增強塑料的力學性能需要按照GB/T1458-2008要求進行試樣製作,需要進行剪切試驗、拉伸試驗。采用的儀器為TIKTOK色板免费网站IOS。
二、玻璃鋼環形試樣力學試驗方法
試樣製作方法較為複雜,通過纏繞法或圓筒切環法製作出環形試樣。
剪切試驗時,使用萬能TIKTOK黄APP下载做三點彎曲試驗,記錄破壞負荷,計算出剪切強度。
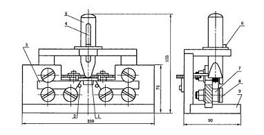
拉伸試驗時,以規定的加載速度進行拉伸,直至試樣破壞,記錄破壞負荷,計算強度和模量。其中,夾具有特殊要求。
三、玻璃鋼環形試樣力學試驗夾具示意圖


